0
0 Kč
MOTORKY A DÍLY TM
JSME VÝHRADNÍ IMPORTÉR TM PRO ČR
O nás
Kontakt
Doprava a platba
Obchodní podmínky
Ochrana dat
Servis
Dealeři a TM Pointy
CZK
EUR
Přihlásit se
MOTORKY A DÍLY TM
JSME VÝHRADNÍ IMPORTÉR TM PRO ČR
Hledat
0
0 Kč
Váš košík je prázdný
Motocykly - 2026
Originální díly
Oblečení a doplňky
Racing díly
Bazar
Bardahl
Motorex
Manuály v ČJ
ELEMENTO FISSAGGIO MOLLA
Domů
Originální díly
2022
Motor EN 125 Fi 2022
Spojka EN 125 Fi 2022
Spojka EN 125 Fi 2022
Výchozí
Nejlevnější
Nejdražší
Nejprodávanější
Abecedně
34
položek
Pozice
Název
Popis
Sklad. číslo
Sklad
Cena
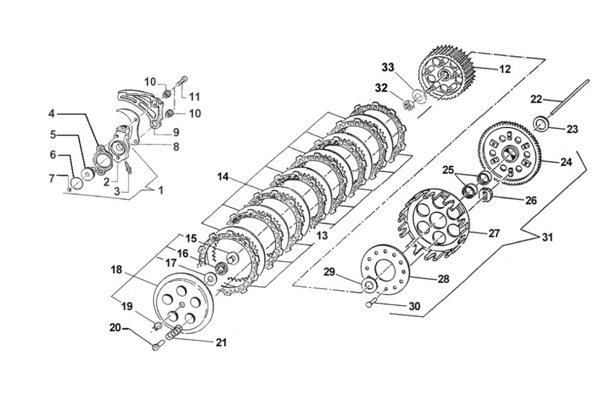
1
OUTPUT H.CLUTCH CYLINDER CPL.
30206
1
1 365 Kč
Koupit
2
OUTPUT H.CLUTCH CYLINDER
30205
Do 10 dnů
716 Kč
Koupit
3
SCREW AIR BLED HYDRAUL.CLUTCH
35264
Do 10 dnů
159 Kč
Koupit
4
GASKET, HYDRAULIC CLUTCH80/125
05509
2
15 Kč
Koupit
5
PISTON, CLUTCH PUMP 125 95/04
35125
Do 10 dnů
374 Kč
Koupit
6
O-RING, CLUTCH PISTON 125/250
12259
2
40 Kč
Koupit
7
BALL, IDR. CLUTCH PUMP
19052
2
7 Kč
Koupit
8
PROTECTION, GEAR CHAIN ERGAL
40022
1
110 Kč
Koupit
9
PROTECTION FRONT SPROCKET09/13
40029
1
241 Kč
Koupit
10
COLLAR, SPROCKET 125cc H.6
26212
Do 10 dnů
61 Kč
Koupit
11
BOLT TCEI 6X30
49486
13
27 Kč
Koupit
12
CLUTCH CENTRE 125cc M.14->
25099.14
Do 10 dnů
2 006 Kč
Koupit
12
CLUTCH TOOL 85/125cc + KART
50124
Do 10 dnů
1 513 Kč
Koupit
13
CLUTCH PLATE, FIBER MX/E 93/->
35027
Do 10 dnů
360 Kč
Koupit
14
CLUTCH PLATE, STEEL 1mm 99/05
35019
Do 10 dnů
210 Kč
Koupit
15
CLUTCH THRUST
26001
Do 10 dnů
258 Kč
Koupit
16
NEEDLE CAGE AXK 1024, RADIAL
19020
Do 10 dnů
163 Kč
Koupit
17
WASHER, NEEDLE CAGE AS 1024
19021
Do 10 dnů
33 Kč
Koupit
18
PLATE, CLUTCH PRESSURE ASSY
35025
Do 10 dnů
1 811 Kč
Koupit
19
CIRCLIP D.8,4 - EXTERNAL
49211
Do 10 dnů
34 Kč
Koupit
20
NUT, CLUTCH KZ10 ERGAL
49057
Do 10 dnů
56 Kč
Koupit
21
SPRING, CLUTCH 125 MX/E 03/->
16020
Do 10 dnů
76 Kč
Koupit
22
ROD, HYDR.CLUTCH 125 M. 99/04
35043
Do 10 dnů
137 Kč
Koupit
23
SPACER 30X20X2 PRIMARY GEAR
48003
1
120 Kč
Koupit
24
PRIMARY GEAR 63T, 125/144cc
40402
Do 10 dnů
4 856 Kč
Koupit
25
NEEDLE CAGE 20 X 24 X 12
19013
Do 10 dnů
211 Kč
Koupit
26
RUBBER, CLUTCH BASKET
21005
Do 10 dnů
39 Kč
Koupit
27
CLUTCH BASKET 125 91/96 99/05
25000
Do 10 dnů
1 267 Kč
Koupit
28
DISC STOP RUBBERS CLUTCH KZ10B
35026
Do 10 dnů
249 Kč
Koupit
29
SPACER 30x18x3
48002
4
111 Kč
Koupit
30
SCREW, M7X1X12,5 K9 ENGINE
49727
2
20 Kč
Koupit
31
PRIM.GEAR 63T,125 Comp. 99/04
40409
Do 10 dnů
7 472 Kč
Koupit
32
NUT, CLUTCH CENTER
49052
Do 10 dnů
115 Kč
Koupit
33
WASHER 28X14,2X1,25
49127
Do 10 dnů
51 Kč
Koupit
Načítám data ...