0
0 Kč
MOTORKY A DÍLY TM
JSME VÝHRADNÍ IMPORTÉR TM PRO ČR
O nás
Kontakt
Doprava a platba
Obchodní podmínky
Ochrana dat
Servis
Dealeři a TM Pointy
CZK
EUR
Přihlásit se
MOTORKY A DÍLY TM
JSME VÝHRADNÍ IMPORTÉR TM PRO ČR
Hledat
0
0 Kč
Váš košík je prázdný
Motocykly - 2026
Originální díly
Oblečení a doplňky
Racing díly
Bazar
Bardahl
Motorex
Manuály v ČJ
ELEMENTO FISSAGGIO MOLLA
Domů
Originální díly
2024
Motor MX 85 Junior 2024
Motor MX 85 Junior 2024
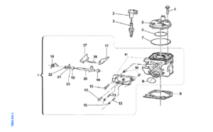
Válec MX 85 Junior 2024
Píst a klika 20mm MX 85 Junior 2024
Zapalování MX 85 Junior 2024
Víko spojky a vodní pumpa MX 85 Junior 2024
Spojka MX 85 Junior 2024
Kartery a sání MX 85 Junior 2024
Nožní startování MX 85 Junior 2024
Mechanismus řazení MX 85 Junior 2024
Převodovka MX 85 Junior 2024
Šrouby pro víka motoru MX 85 Junior 2024
Šrouby karterů MX 85 Junior 2024
Načítám data ...