0
0,00 €
MOTORKY A DÍLY TM
JSME VÝHRADNÍ IMPORTÉR TM PRO ČR
O nás
Kontakt
Doprava a platba
Obchodní podmínky
Ochrana dat
Servis
Dealeři a TM Pointy
CZK
EUR
Přihlásit se
MOTORKY A DÍLY TM
JSME VÝHRADNÍ IMPORTÉR TM PRO ČR
Hledat
0
0,00 €
Váš košík je prázdný
Motocykly - 2026
Originální díly
Oblečení a doplňky
Racing díly
Bazar
Bardahl
Motorex
Manuály v ČJ
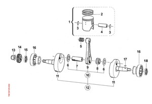
ELEMENTO FISSAGGIO MOLLA
Domů
Originální díly
2023
Motor EN 125 Fi 2023
Motor EN 125 Fi 2023
Válec EN 125 Fi 2023
Elektronika přívěry EN 125 Fi 2023
Píst a klika EN 125 Fi 2023
Zapalování EN 125 Fi 2023
Kartery a sání EN 125 Fi 2023
Spojka EN 125 Fi 2023
Víka spojky a vodní pumpa EN 125 Fi 2023
Nožní startování EN 125 Fi 2023
Mechanismus řazení EN 125 Fi 2023
Převodovka EN 125 Fi 2023
Načítám data ...